ARTIGO TÉCNICO
Veja a seguir.

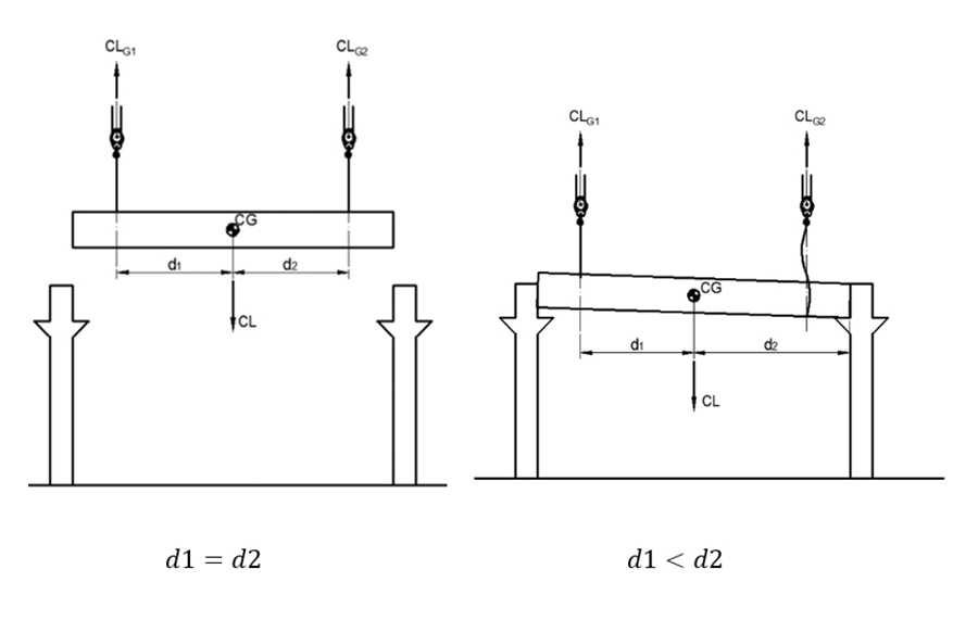
No caso da verticalização da peça, como ocorre com um pilar transportado na posição horizontal e posteriormente montado na vertical, quando se utilizam dois guindastes, se os pontos de conexão e o centro de gravidade estiverem na mesma altura, a carga permanece a mesma durante toda a operação. Nessa condição, ao se aproximar de 90°, a carga é transferida do guindaste 1 para o guindaste 2 praticamente instantaneamente, gerando um efeito dinâmico nesse processo.


Para minimizar o efeito mencionado acima, utiliza-se uma técnica que consiste em posicionar o ponto de conexão do guindaste auxiliar, deslocado em relação à altura do eixo do centro de gravidade da carga. Com isso, a carga passa a variar em função da inclinação da peça e, durante o processo de verticalização, ocorre uma transferência progressiva de carga para o guindaste principal, que possui capacidade total para suportar o peso da peça, conforme ilustrado no exemplo a seguir. Para a correta determinação das cargas atuantes em cada guindaste, devem ser utilizados cálculos específicos, conforme a fórmula apresentada a seguir.

Onde:
CL = Carga líquida;
CLG1 = peso líquido no guindaste 1;
CLG2 = peso líquido no guindaste 2;
d1 = distância longitudinal do ponto de içamento do guindaste 1 até o centro de gravidade.
d2 = distância longitudinal do ponto de içamento do guindaste 2 ao centro de gravidade;
c = distância transversal do eixo do centro de gravidade ao ponto de içamento do guindaste 2;
α = ângulo de inclinação da carga;
CG = centro de gravidade da carga.
Além dos cuidados já mencionados, alguns parâmetros adicionais devem ser observados quando o içamento da carga é realizado em tandem, utilizando dois, três ou mais guindastes simultaneamente:
A capacidade de cada guindaste, na configuração definida para a operação, não deve ultrapassar 75% da capacidade nominal tabelada.
Todo o processo deve ser conduzido por um supervisor experiente em movimentação de cargas, com conhecimento específico em içamentos críticos e operações em tandem.
As condições dos equipamentos envolvidos na operação devem ser inspecionadas e certificadas por profissional legalmente habilitado.
Sempre que possível, deve ser realizada uma simulação prévia da operação, utilizando as máquinas sem carga, a fim de validar os procedimentos, a comunicação e o sincronismo entre os guindastes.
A capacidade de suporte do solo, bem como a área e as condições dos apoios (patolas ou esteiras), devem estar claramente definidas, verificadas e compatíveis com as cargas aplicadas durante a operação.
Devido à transferência de cargas entre os guindastes durante a operação, recomenda-se reduzir ao máximo o número de máquinas envolvidas. Sempre que possível, é preferível operar com dois guindastes em vez de três, com três em vez de quatro, e assim sucessivamente, pois quanto maior o número de guindastes, maior a complexidade da operação e o risco de desequilíbrio de cargas.
Operação crítica.
Uma operação com guindaste deve ser classificada como CRÍTICA sempre que se identificarem um ou mais perigos significativos, exigindo planejamento formal (plano de rigging), controles adicionais na operação e autorização específica.